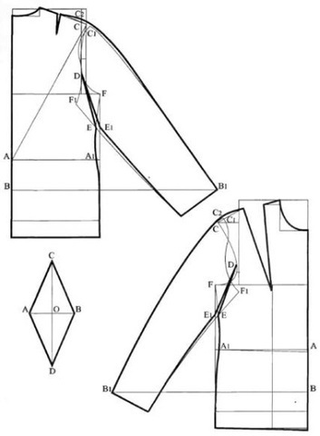
Жакет-кимоно строится на основе базовой конструкции жакета
и рукава-полуреглана . Наличие ластовицы позволяет построить рукав
цельнокроенным с полочкой и спинкой.
Построение спинки
АВ =
На базовой конструкции спинки жакета проведем горизонталь
через точку В.
Приложим к пройме окат задней части рукава таким образом,
чтобы нижний конец линии верхнего шва В 1 лежал на горизонтали через точку В.
СС 1 -
Точка D находится в том месте, где линия оката рукава и
линия проймы расходятся в разные стороны.
CD =
Точка Е находится на пересечении линий бокового шва спинки
и нижнего шва рукава. Проведем отрезок DE.
DE = DE1.
ЕЕ 1 =
Проведем линию разреза под ластовицу по точкам Е D E1 и
линию нижнего шва через точку Е1.
СС 2 = 1см.
Проведем линии плеча и верхнего шва рукава через точку С 2
.
Построение полочки
АВ =
На базовой конструкции полочки проведем горизонталь через точку
В.
Приложим к пройме окат передней части рукава таким
образом, чтобы нижний конец линии верхнего шва В 1 лежал на горизонтали через
точку В. СС1 =
ЕА 1 = ЕА1 с чертежа спинки. DE = DE с чертежа спинки =
DE1 =DE. EE1 =
Проведем линии плеча и верхнего шва рукава через точку С 2
. Примечания.
1. В полученной конструкции спинка и полочка цельнокроенны
с рукавом за исключением выреза Е D E1 на спинке и на полочке жакета.
2. Плечевой шов спинки должен быть длиннее, чем на полочке,
так как в области плеча выполняется посадка.
Построение ластовицы
Через точку А проводим две взаимно перпендикулярные
прямые.
ОА = ОВ =
АС = ВС = AD = BD = DE с чертежа спинки и полочки.
(Пример:












